收藏万达还剩多少家底?

图片来源:界面图库
大连万达集团及其法定代表人王健林等被限制高消费一事上演了戏剧性一幕。
此前,案件审理流程显示,大连万达集团被强制执行1.86亿元,执行法院为甘肃省兰州市中级人民法院,王健林被限制高消费。这一事件引发业界广泛关注。
9月29日,界面新闻记者查询中国执行信息公开网发现,王健林限高信息已经取消,而该条1.86亿元的被强制执行信息依然存在。
北京盈科(上海)律师事务所资产律师陆鼎在接受界面新闻采访时表示:“万达的执行力一直很强,此次限高解除有可能是通过执行和解、补充担保、法院沟通等方式消除的。”
值得注意的是,近年来万达债务缠身,屡次变卖资产,王健林的财富规模大幅缩水,万达上市之路也是命运多舛,至今未能如愿。

仍有多条被执行信息
对于王健林被限制高消费一事,万达知情人士9月28日对界面新闻表示:“此次是由于万达下属项目公司经济纠纷导致,事实上之前双方一直在通过多种方式协商解决,我们也正在了解具体情况,本次或因在执行层面信息不对称导致。”
陆鼎在接受界面新闻采访时指出,根据《最高人民法院关于限制被执行人高消费及有关消费的若干规定》,被执行人未按执行通知书指定的期间履行生效法律文书确定的给付义务的,人民法院可以采取限制消费措施,限制其高消费及非生活或者经营必需的有关消费。“从此次大连万达集团的案例来看,直接的纠纷主体应该不是大连万达集团。但既然能被执行,说明大连万达集团在这个生效判决中有履行义务,大概率是为下属项目公司做了担保。”
陆鼎进一步解释说:“限高对王健林本人影响,主要包括不得乘坐飞机、列车软卧、轮船二等以上舱位及乘坐G字头动车组列车全部座位、其他动车组列车一等以上座位,不得入住星级酒店、购买高档房产或车辆等。而如果关联公司名下有特殊交通工具提供服务会削弱其影响。对公司的影响主要是商誉、信用评级与融资能力等方面。此次限高可能进一步影响资本市场对其信任度,阻碍股权融资渠道恢复,包括珠海万达商管上市进程可能会受到影响。”
对于被执行人限高的解除条件,陆鼎表示:“一是被执行人大连万达集团或关联主体全部履行生效法律文书确定的义务;二是与申请执行人达成执行和解协议;三是提供有效担保并经法院认可;四是公司变更法定代表人后,原法定代表人可向法院申请解除限高。否则限高令将持续至债务全部清偿或法院依法撤销措施为止。”
界面新闻查询中国执行信息公开网信息发现,除了此次甘肃中院1.86亿元的被执行信息外,大连万达集团还有5条被执行信息,涉及重庆、河南、上海、甘肃等地法院。6条被执行信息合计金额为21.54亿元。“另外几条只申请了执行信息,没有被限高,原因可能是仍有执行程序未完成,或者法定代表人主体责任关联度认定有差异,再或者协商达成一定进展了。”陆鼎对界面新闻指出。

9月29日截自中国执行信息公开网
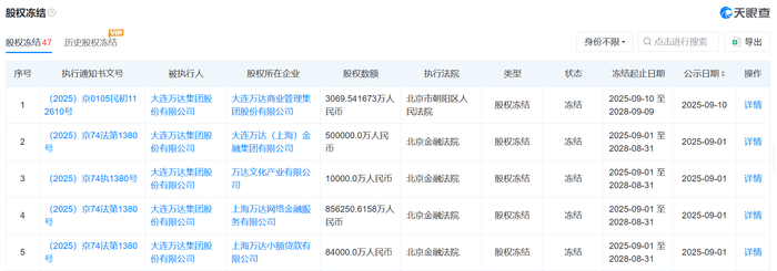
此外,天眼查数据显示,大连万达集团还有共计有47条股权冻结信息,被冻结股权的标的企业涉及大连万达商业管理集团股份有限公司、大连万达(上海)金融集团有限公司、万达文化产业有限公司、大连万达集团商务服务有限公司等。其中,今年9月以来,共有5条股权冻结信息,被冻结股权145.33亿元。目前,王健林名下有42家公司,仅10家处于存续或者迁出状态,其余处于吊销或者注销状态。

截自天眼查
中国企业资本联盟副理事长柏文喜表示,万达频繁出现股权冻结等情况的直接原因是债务问题,从公开司法信息看,每一次股权冻结几乎都对应一笔到期未清偿的债务,涉及银行贷款、信托计划等。企业的资金缺口需靠“借新还旧”维系,一旦融资渠道受阻,就会出现股权、资产被轮番冻结等局面。此外,万达虽然频繁出让万达广场等资产,不过回笼现金低于预期,很多交易是“以资抵债”,带来的增量现金有待观察。
根据界面新闻观察,此前万达集团存在10条被执行信息,而目前中国执行信息公开网上被执行信息减少为6条,限高也已取消。陆鼎表示:“其实只要达成协商一致,被执行和限高信息撤销难度不大。未来可以关注这些信息的变化情况,虽然这些信息减少或者消除不一定意味着万达就能翻身,但如果这些信息在增加或者没有解决,万达商管的上市进程就会受阻,其他常规融资渠道也很难打开。”
财富规模大幅缩水
作为中国商业地产领域的标志性人物,王健林曾带领万达集团构建了横跨文旅、酒店、院线等业态的庞大商业帝国。这位曾经的中国首富,其财富规模一度超过2000亿元。然而,随着国内经济结构调整和行业监管政策变化,万达转型效果不佳,再加上债务缠身,种种因素阻碍了企业发展,这位商业巨擘的财富规模近年来经历了大幅缩水。
根据胡润百富榜数据,在2010年胡润百富榜上,王健林财富规模仅为350亿元,位列第7位。随后的几年时间,其财富规模迅速增长,排名逐渐提升。到了2013年榜单公布时,王健林以1350亿的资产规模荣登榜首。2013年至2016年,榜首的位置王健林保持了4年时间,其财富规模在2015年更是达到2200亿元,这也是王健林家族的高光时刻。随后,其财富规模开始下滑。
而到了2017年,王健林家族的排名跌至第5位,财富规模为1550亿元。这一年,许家印以2900亿元的财富规模来到了榜首。
从2023年开始,王健林家族财富规模缩水有加速态势。胡润百富榜数据显示,2023年,王健林家族财富规模为470亿元,排名来到89位,而前一年为1000亿元。彼时,胡润百富董事长兼首席调研官胡润表示,近年来中国的财富创造结构发生很大变化,百富榜这两年共有将近500位企业家下榜,其中就包括多家房地产企业,特别是负债较高的开发商。“市场大环境持续给房地产企业家带来很大压力,最近一年财富下降最多的是万达的王健林家族,下降了500多亿。”
2024年10月29日,胡润研究院公布2024年榜单,王健林家族财富规模降至290亿元(截至2024年8月30日),位列榜单第157位。公布榜单之时,胡润表示:“房地产行业的上榜人数占比从十年前到现在下降了一半以上,今年10%都不到,比如前首富万达的王健林财富比十年前下降了八成。随着房地产行业继续下行,包括万达的王健林、龙湖的吴亚军、卓越的李华、新湖的黄伟排名均出现下滑。”

截自胡润百富官网
资产版图瘦身
在经历了A股上市无门、港股上市及退市后,王健林成立了珠海万达商管,并计划重新杀回港股。2023年底,珠海万达商管因未能在约定时限完成上市,触发了与投资人签订的回购条款。按照证监会此前在一份问询函中披露的内容,这部分回购款约为300亿元。再加上此前万达商业私有化遗留的债务,王健林的担子更重了。
这些债务还只是冰山一角。为了缓解资金压力,王健林自2023年就开启了“卖卖卖”模式。
万达集团官网信息显示,目前万达集团旗下包括商管集团、文旅集团及投资集团。
商管集团即珠海万达商管,截至2024年12月31日,珠海万达商管运营513座万达广场,管理面积超7000万㎡。
不过,万达并非持有这些万达广场的全部权益。根据大连市政府官网信息,2023年12月12日,太盟投资集团以及中信资本等投资人与大连万达商管集团签署投资框架协议,对珠海万达商管进行股权重组。按照协议,大连万达商管持股40%,太盟等投资人持股60%。
文旅集团旗下有酒店管理公司和万达宝贝王。酒店方面,目前已开业酒店234家,待开业400家。截至2023年底,宝贝王累计开业450家门店,其中直营店138家、委管店312家,覆盖全国200多座城市。
今年5月,“王健林再卖48座万达广场”话题冲上热搜。据国家市场监管总局披露的信息,太盟(珠海)管理咨询合伙企业(有限合伙)、高和丰德(北京)企业管理服务有限公司、腾讯控股有限公司、北京市潘达商业管理有限公司、阳光人寿保险股份有限公司直接或通过其各自关联方共同设立合营企业,并通过合营企业收购大连万达商业管理集团股份有限公司直接或间接持有的48家目标公司的100%股权。目标公司主要业务为大型零售商业地产运营。这48家目标公司涉及北京、上海、广州、成都、杭州等多个城市的万达广场项目。至此,目前全国已有约百座万达广场所有权易主。
此外,万达一些核心资产也尽数剥离,比如万达电影的控股权丧失、酒店管理权售予同程旅行,文旅项目、海外资产等也相继抛售,王健林的资产版图快速“瘦身”。
需要看到,虽然通过出售资产可以回笼资金,但是对于万达来说这些资金只能算杯水车薪。更为严峻的是,核心资产的剥离将导致万达的持续盈利能力下滑。这折射出中国房地产行业从粗放扩张到精细化运营的转型之痛,高杠杆模式在行业凛冬中不堪一击,展示了时代洪流中企业家群体的命运浮沉。
本文为转载发布,仅代表原作者或原平台态度,不代表我方观点。澳洲印象仅提供信息发布平台,文章或有适当删改。对转载有异议和删稿要求的原著方,可联络 [email protected]




















你需要登录后才能评论 登录