收藏澳洲2024-25财年联邦预算案优先缓解生活成本压力 限制移民和留学生力度加大
澳大利亚联邦国库部长吉姆·查默斯(Jim Chalmers)公布阿尔巴尼斯政府的第三份联邦预算案。

与去年一样,缓解生活成本压力仍然是重中之重,虽然继续保持财政盈余,但是盈余规模缩减,政府也要量入为出。限制移民和留学生数量的力度也在加大,永久移民配额减少了五千个,净移民人数则大幅削减,对各教育机构的国际学生招生人数也将设置上限。
永久移民配额微降至18.5万 大幅削减净移民
最新出炉的2024-25财年联邦预算案显示,新财年永久移民配额上限从19万略微降至18.5万。这一数字在过去四年中保持相对稳定。

预算案报告显示,这些移民中约70%(132,200个名额)会分配给技术移民。墨尔本注册移民中介及移民法注册律师董乃瑞对此表示了欢迎。他说这意味着永久移民政策的连续性,否则很多申请人可能要因为年度配额减少,而等待时间越来越长。
就在预算案公布前夕,澳大利亚联邦政府提议,为了确保国际教育机构的“完整性和可持续性”,将对1400所注册招收海外学生的大学和学院所能招收的国际学生人数设置上限,以帮助国际产业实现可持续增长,并缓解全国住房需求。
政府并没有公布每所教育机构的具体留学生招生上限是多少。去年有78.7万名留学生在澳大利亚学习。
与此同时,新预算案显示,联邦政府还计划将年度净移民人数削减至26万人,净移民指永居(permanent)移民和持有长期签证(long-term arrivals)人士,包括学生签和毕业工签持有者,不包含持有中短期签证人士,例如游客。
与2022-23年的年度净海外移民人数(net overseas migrantion)相比,2024-25新财年的净海外移民人数上限几乎是腰斩。

董乃瑞说,据他了解,很多行业依旧缺少劳工,如果将年度净海外移民人数定在26万的话,让人感觉不是很合理。
“我认为这可能过多地考虑选民的观感,而没有考虑到经济的长期发展。这可能会进一步增加成本,让生意人继续面对困难。”
他指出澳大利亚高等教育机构面对研究经费的短缺,并从国际学生的学费中寻找这笔经费,一旦留学生人数受限,这会影响到学校的经费来源。
他说:“通过设置上限的办法来强迫多样化的发展,这是个饮鸩止渴的做法。”
预算案中与移民政策相关的改变还包括:
商业创新与投资签证计划(BIIP)将停止,从2024年9月起向希望撤回商业创新与投资签证申请的人士退还签证申请费
澳大利亚政府在今年1月就宣布停止接受“商业创新及投资计划”,俗称投资移民。
该计划包括188A、B、C、E四个类别,其中备受关注的188C(重大投资移民签证SIV)俗称“黄金签证”。
188C需要投资500万澳元,自2012年以来,已有2000多人获得重大投资者签证,其中85%来自中国大陆,3.6%来自香港。
与其他签证类别不同,成功获批重大投资者签证的申请者不需要学习英语或说英语,也没有年龄限制。
澳大利亚政府对这一备受争议的签证类别进行了数年的审查和调整,并最终决定取消。
内政部长克莱尔·奥尼尔(Clare O'Neil)曾表示:“对于澳大利亚有这样的一个签证类别,只要拿钱就能买到身份,大多数澳大利亚人都会感到备受冒犯。”
政府正在对移民系统的其他部分进行调整。例如对来自中国、越南和印度的申请人提供打工和度假(462子类)签证抽签,每次费用为25澳元。政府称这是因为需求过高而造成的。
澳大利亚广播公司日前报道称,内政部网站上有资格获得打工和度假签证的名单上有五个国家被标记为“暂停”: 巴西、中国、瑞士、泰国和土耳其。
内政部网站在给中国“暂停”标签的脚注里称,暂停与“感兴趣的人极多”有关。
而在这些标记“暂停”的国家中,只有中国的签证数量上限额远远没有达到。
内政部的记录显示,从标记为暂停开始截至3月底,仅向来自中国的申请人签发了九个打工度假签证。
从2024年11月23日起,临时技能短缺(子类别 482)签证的申请人工作经验要求从两年减至一年
内政部还将用新的国家创新签证(National Innovation visa)取代全球人才(Global Talent visa)签证,以获得“推动国家重要部门急需的杰出人才”
将建立一个新的获得澳大利亚护照的“快速通道”(fast track)计划,该计划将花费100澳元,并在五天内为人们提供新护照
宏观经济走向
GDP增长率:2023年澳大利亚GDP增长2.0%,预计2024年GDP增长率为1.75%,2025年2.25%,2026年保持2.25%;
通胀率:截至2024年第二季度的年通胀率预计为3.5%,比之前的预测低0.25个百分点。商品通胀的持续放缓以及政府的生活费用政策都有助于通胀的缓和。预计在2024-25财年通胀率将降低0.5个百分点;
此外,随着美国通胀加剧,中国经济大幅放缓,战争,以及一些国家陷入经济衰退,这些因素都会对下一财年的国家经济走势产生影响。
预算案中还对中国、美国、英国、日本、印度等澳大利亚重要的贸易伙伴的经济情况作出了分析。
预算案写道,据预测,2024年中国经济将增长4.75%,与中国政府设定的5%左右的目标基本一致,然后在2025年和2026年放缓至4.25%。如果实现这一目标,这将是自上世纪70年代末中国经济开始改革开放以来经济增长最缓慢的时期。
预计住宅房地产行业的进一步调整仍将拖累经济增长。房价下跌和住宅建筑业的资金压力将继续拖累消费者信心和支出。由于财政收入依赖于房地产销售,地方政府财政拮据,支持经济增长的能力有限。
中国经济面临着城市化进程放缓、人口老龄化和生产率下降等日益严峻的结构性挑战。政府正试图通过支持电动汽车和绿色能源等新兴产业来应对这些结构性挑战,同时放弃房地产等传统增长动力。
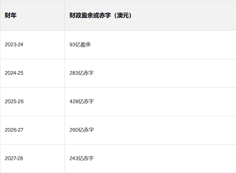
财政盈余
2023-24财年,澳大利亚实现了总值93亿澳元的联邦财政盈余,弥补了1520亿澳元的总债务。
这是20多年来首次连续两年实现财政盈余,但是预算案估计未来四年澳大利亚将出现财政赤字

税收
公司税率不会降低;
政府针对小生意或小型企业的“资产立即抵扣”(instant asset write-off scheme)计划再延长一年,允许营业额低于1000万澳元的企业从符合条件的资产中申请两万澳元“资产立即抵扣”项目;
经过修改后的第三阶段个人所得税(Stage 3 tax cuts)减税将于2024年7月1日实施,中低收入家庭也会享受减税的好处。这意味着应税收入在5万澳元至12万澳元之间的纳税人将获得804澳元的减税。
7月1日后第三阶段减税将成为现实,个人所得税税率如下:

缓解生活成本压力
从7月1日起,为所有澳大利亚家庭提供300澳元的能源账单减免(符合条件的小型企业将获得325澳元的减免)
增加10%的联邦租金补助
社会福利金
国库部长上周宣布预算案将增加福利金支出。据报,求职者福利金(JobSeeker)和养老退休金(aged pension)的金额都会有所增加;
政府还为所有政府资助的带薪育儿假预留了11亿澳元的养老金额度,但该计划要到2025年才生效。从明年7月开始,享受政府资助的带薪育儿产假(paid parental leave scheme)计划的父母除了领取福利金之外,还将获得养老公积金(superannuation)
即将出台一些降低生活成本压力的措施,例如能源费用减免、幼托补助和租金补贴。
养老
投入5.314亿澳元,用于在2024-25年度额外增加24,100个家庭护理服务项目。这将有助于缩短平均等待时间,使人们能够按照自己的意愿在家安享晚年;
四年投入1.109亿澳元用于支持提高老年护理质量与安全委员会的监管能力;
在已经拨付的113亿澳元的基础上,为养老护理员临时增加15%的工资提供支持;
投入8,720万澳元用于劳动力项目,以吸引护士和其他工作人员加入老年护理行业。
文化体育与HECS学贷
政府承诺削减澳大利亚高等教育助学贷款系统(HECS)债务,这一债务减免也适用于职业技能培训(VET)的学生贷款计划或澳大利亚学徒支持贷款人士。去年这一学贷年化升幅7.1%,增加了30亿澳元的HECS债务;
政府还计划向大学学生提供财政支持来解决“解决贫困”问题。根据该计划,学习护理、教育或社会工作的学生将每周获得高达319.50澳元的联邦实践补助金(Commonwealth Prac Payment),但需要接受资产测试(means testing)。同样,愿意学习清洁能源技能作为其行业一部分的学徒将有资格获得高达1万澳元的补助。 政府根据行业反馈计划扩大申请人从事专业范围,将汽车、电气、住房和建筑行业的学徒也纳入其中;
另外9,000万澳元将用于提供15,000个免费的TAFE和VET名额,以吸引更多工人进入住房建筑行业,并从2025年起额外提供5,000个学徒前名额;
政府将投入650万试行儿童上网年龄验证计划,旨在限制儿童访问色情或其他不当内容;
在2032年布里斯班奥运会之前,政府将斥资近25亿澳元对位于堪培拉的澳大利亚体育学院进行升级改造,用于新建一个高性能训练和测试中心、一个多项目室内穹顶和住宿设施。
医疗卫生
政府计划在在医疗卫生和全民健保(Medicare)方面额外支出85亿澳元,其中28亿澳元用于再创建29个紧急护理诊所(urgent care clinics);
根据药品福利计划(Pharmaceutical Benefits Scheme,PBS)冻结相关处方药最高费用,即31.6澳元,养老金领取者或优惠卡持有者则为7.7澳元;
大笔资金会投入医学研究,其中包括2000万澳元用于儿童脑癌研究,以及5000万澳元资助开发世界上第一个长型人工心脏;
另外4910万澳元用于支持患有子宫内膜异位症和其他复杂妇科疾病(如慢性盆腔疼痛和多囊卵巢综合症)的患者;
投入9000万澳元,简化国际医疗从业人员到澳大利亚工作的程序,解决医疗从业人员短缺的问题;
8.257亿澳元用于确保澳大利亚人继续新冠检测和疫苗接种。政府还将确保继续通过 “药品福利计划”提供口服抗病毒药物;
8亿澳元继续提供新冠检测
将建立一项免费、低强度的数字心理健康服务,弥补轻度精神健康问题患者的缺口。从2026年1月1日起,澳大利亚人无需转诊即可使用该服务,并获得及时、优质的心理健康支持。系统全面建立后,预计每年将有15万人使用这项服务。
住房
从7月起的五年内,目标依靠320亿澳元的 “澳大利亚家园计划”(Homes for Australia),投资62亿澳元新建120万套住房;
总理在上周五的全国内阁会议上同意在五年内向各州和领地提供93亿澳元经费,用于危机支持、建造和维修社会住房,并为无家可归者提供支持;
另外10亿澳元将提供给各州和领地,用于建设其他社区基础设施,以加快住房建设进程,包括道路、污水处理、能源和供水;
政府还承诺与各大学协商,建造更多专门的学生宿舍;
住房拨款建立在已经承诺用于新住房投资的250亿澳元的基础上,其中100亿澳元用于澳大利亚住房未来基金,该基金旨在帮助建造三万套社会经济适用房;
政府表示,住房拨款措施也将有助于缓解私人租赁市场的压力,该市场的空置率创历史新低,周租金价格飙升。
国防与外交
联邦政府计划在未来十年内额外支出500亿澳元用于国防,这意味着在10年内,澳大利亚的国防总支出将达到3300亿澳元,相当于国内生产总值(GDP)的2.4%,其中包括奥库斯(AUKUS)计划购买核动力潜艇的初始成本;
这500亿澳元中的一部分将用于升级澳大利亚北部的国防基地,其中7.5亿澳元将在下一财年的预算中用于“加固”其基地;其中超过10亿澳元拨款还将用于立即增强远程导弹和瞄准系统;
在太平洋地区,澳大利亚已承诺投资1.1亿澳元资助图瓦卢的发展计划,包括海底电信电缆和直接预算支持;
政府还承诺向亚洲开发银行提供4.92亿澳元,向亚太地区的脆弱国家提供援助;
3000万澳元用于永久设立反外国干涉工作组,另外3000万用于司法部长和检察长办公室以起诉间谍/外国干涉行为;
再向乌克兰提供1亿澳元的额外援助,其中5000万用于“短程防空系统”,3000万用于空中无人机系统,1500万美元将用于战斗头盔、充气艇、靴子、消防面具和发电机等装备,这使自俄罗斯入侵以来澳大利亚对乌克兰的支持总额超过了10亿澳元。
外国投资
简化澳大利亚外国投资程序,以“吸引合适的”投资,并将加强外国投资审查委员会(Foreign Investment Review Board)的审查程序;
澳大利亚联邦国库部长吉姆·查默斯表示,新财年预算将再次关注国家的经济安全。政府对外国投资体系进行改革是为了保护敏感行业、供应链、关键基础设施、数据和关键矿产。
“枪伤上贴创可贴” 预算案受到自由党和绿党批评
影子国库部长安格斯·泰勒(Angus Taylor)表示政府没有从根本上解决通胀问题,而是在“枪伤上贴创可贴”。
“大环境非常重要......当通胀肆虐时,你应该处理问题的根源,”他说。
“政府没有这样做,因为这个[预算]是为选举而制定的,而不是针对生活成本危机而设计的。”
绿党领袖亚当·班德(Adam Bandt)也批评这个预算案是“对艰难度日者的背叛”。
“这是对租房者、有房贷的人、女性和学生的背叛——同时,[它]支持房租无限制上涨,超市价格将继续上涨。”
“工党正在勒紧你们的裤腰带,却让大公司和亿万富翁们肆意妄为。”
专业人士给预算案打多少分?
经济分析师魏睿昊对新出炉的联邦预算案打了6分(满分10分),他说喜忧参半。
“从好的方面看,这个预算案的确舒缓了一些家庭的财务压力。其次,对未来重要的行业主动推出了一些积极的行业发展举措。
“坏的方面包括,电力补贴及减税是否会再度引发通胀的重新抬头,这个可能性是永远存在的。另一方面,在‘未来澳大利亚制造’政策上,我个人认为应该更多地扶持一个产业,而不是挑选几个重点企业去注资和低息贷款扶持。”
刘女士说预算案中给予小生意的帮助不是太大。(Supplied)
澳大利亚华裔CPA注册会计师詹妮·刘(音,Jennie Liu)也只给这个预算案打5分,因为预算案中给予小生意的帮助不多。
她承认政府针对小生意或小型企业的“资产立即抵扣”(instant asset write-off scheme)计划再延长一年是好事,这意味营业额低于1000万澳元的企业可以从符合条件的资产中申请总值两万澳元“资产立即抵扣”。
“以上那个是我们最为关注的,当然还有向大约100万家小企业每家发放325澳元的能源账单的补贴。
“虽然不多,但是受益的小企业的数量还是比较多的。”
此外,政府还在帮助减少小企业的行政负担,例如在带薪育儿产假方面的协助。
不过,她指出小生意仍然面临员工短缺,成本急剧上升的问题。
“对于[小生意]雇佣员工方面的现金流上的支持,或者是房租的减免都是小生意目前迫切需要的。”
华人谈预算案
目前预算案的内容已经公布,华人社区民众纷纷发表他们的看法。
“我觉得澳大利亚政府容易走极端”
Sandra Liu从事教育产业。她对第三阶段减税政策的最新修改方案举双手赞成,她说这样会更加公平。
“澳洲其实大多数的人还是中产,不应该只给高收入人士减税,完全应该给中低收入人士同样减税。
“我觉得澳洲大部分的中产都是很努力工作的。”
在谈到收紧移民,可能要为国际学生招生设立上限时,她表示不满。
“我觉得澳大利亚政府容易走极端,一会儿增加太多,一会儿又巨幅减少。其实应该循序渐进的,适当地增减[移民人数],避免变化太大。”
“现在物价涨得很厉害,这对老年人比较辛苦”
移民澳大利亚30余载的王蓉华早就退休了,她一方面对于增加养老退休金表示欢迎,但是另一方面也表达了生活成本上升给她和其他老年人带来的困难。
“现在物价涨得很厉害,这对我们老年人还是比较辛苦的。因此政府还是应该多考虑一下民生。”
她说人们非常需要能源补贴,因为很多人对于电力、汽油、煤气价格,甚至水价飞涨感到吃不消了。
她还希望政府能为居家养老的老年人增加更多的上门服务,提高服务素质。
移民自上海的王蓉华女士对澳大利亚出台针对未来的产业政策感到欣慰。
“绿色环保、关键创产等领域也是我们支持看好的。”
她说只有这样,国家才有前途。
“对于很脆弱的家庭来说,他们的压力非常大”
身为佛教团体的志愿者,李慧表示她看到很多华人因为高通胀和生活成本压力而身兼多职,一人会去打三份,甚至四份工作。
“随着高通胀,高物价,对于那些很脆弱的家庭来说,他们的压力非常大。
“人们希望联邦预算案能帮助他们达到最基本的生活水准。”
不过,她也表示看到关系到澳大利亚前途的产业政策与投资计划出炉,就对这个国家的未来更充满希望。
“这样人们才有盼头。”
留学生不了解移民政策变化
在澳大利亚移民政策出现大幅调整之际,一项针对1058名当前、过去和未来的国际学生进行的调查发现,40%的受访学生表示,他们并不知道澳大利亚最近移民政策方面的改变。
这个调查主要针对来自澳大利亚前五大留学来源国中的四个国家,即中国、印度、菲律宾和哥伦比亚的学生。
该调查发现,政府去年年底公布澳大利亚移民政策将重大调整的信息后,了解到这些信息的学生中有77%是自己了解到这些变化的,15%是通过中介了解的,这反映了政府和各教育和中介机构之间存在沟通鸿沟。
27%本来考虑赴澳留学的学生表示,鉴于这些移民政策变化,他们不会继续选择来澳大利亚留学。
本次调查的发起机构Ascent One创始人兼首席执行官纳雷什·古拉蒂(Naresh Gulati) 表示:“政府限制国际学生签证以减少移民人数的决定已产生了影响。”
关于预算案的有趣事实
预算树
每到联邦预算案公布的日子,澳大利亚人总会在电视里看到这棵“预算树”(budget tree)。
这棵树的学名是红枫(Red Maple),位于堪培拉的国会大厦参议院的院子里。
由于每年联邦预算案一般在5月份的第二个周二宣布,此时正值南半球澳大利亚的深秋季节,“预算树”红彤彤的树叶在湛蓝的天空的映衬下,显得格外生机勃勃。
前来参与预算案报道的时政记者把这棵树叫做“预算树”。每年“预算树”树叶变成绚丽的深红色之时就是预算案公布之日。
“预算树”的名字也因此被越来越多的澳大利亚人记住。
预算案闭门预览
从今天下午1:30到7:30,各大媒体的记者都被关在国会大厦的一个房间中对联邦预算案进行“预算案闭门预览”(budget lock-up)。
这使他们在预算案发布前有时间准备报道,从而在报道中准确地反映出政府的收支计划。
闭门预览的规则很严格,记者被禁止使用移动电话或智能手表,亦被禁止上网、或与外界联系。
只有当联邦国库部长在国会开始开口公布预算案时,媒体才能披露预算案的细节。这时候,各大媒体会争先恐后发布记者的报道,为您带来各个角度的解读。
那些违反相关规定的人可能被禁止参加日后的闭门预览,并可能面临严重的法律后果。
闭门预览的做法是从前总理保罗·基廷(Paul Keating)时代开始的。
为什么是“国库部长”而不是“财政部长”?
发表联邦预算案的国库部长吉姆·查默斯(Jim Chalmers),他是澳大利亚政府的“财爷”。他为什么叫“国库部长”而不叫“财政部长”呢?
Treasurer(国库部长)顾名思义是The Treasury(国库部)的部长。澳大利亚的国库部其实相当于很多国家的财政部,主要负责财政收入,编制收入预算,确定联邦对州的转移支付总规模,参与货币政策、产业政策及国民经济发展规划的制定和协调等。
然而,与很多国家不同,澳大利亚政府部门设置中同时还有财政部(The Department of Finance,DoF),是1976年从The Treasury分离出来的,目的是将财政监督职能与一般的经济政策职能分开。
DoF主要负责政府采购与政府支出,以公共部门为工作重点,即负责财政预算执行的日常工作,如编制支出预算、拨付财政资金、政府报告等。
从职能上看,The Treasury相当于中国的财政部和发改委,而DoF则相当于中国财政部的国库司。
但由于Department of Finance一般都会翻译成财政部,所以在澳大利亚Minister for Finance会称为“财政部长”。而为了加以区分,Treasury在澳大利亚通常叫做“国库部”,Treasurer叫做“国库部长”。
为什么预算案对我们如此重要?
对于很多澳大利亚人来说,在非选举年,预算案的公布之日可谓他们在一年中最关心政治的一天了。因为预算案关系到每一个人接下来一年的生计。
预算(budget)是什么?说白了就是一个国家的收支计划。就跟家家户户都要记账一样,国家也要有个“账本”,计划好下一年收入多少,支出多少,怎么花这笔钱,对老百姓有个交代。而澳大利亚一年的“账”涉及的金额达到数千亿澳元。
“收”就是税收,政府将如何征收税款是每个人和企业都很关心的问题;“支”就是支出,政府有了税收,有了国库收入,就能给社会保障、福利、国防、教育、基础设施等项目拨款。预算案就是决定给什么项目拨多少款。
预算案还会对经济状况做出预测,包括经济增长速度、失业率等。
来源:ABC中文网
本文为转载发布,仅代表原作者或原平台态度,不代表我方观点。澳洲印象仅提供信息发布平台,文章或有适当删改。对转载有异议和删稿要求的原著方,可联络 [email protected]




















你需要登录后才能评论 登录