收藏新西兰“燃油补贴”计划公布!“每周多给50纽币!近15万家庭都能领!”或持续一年!需满足这些条件!
今日中午(3月24日),新西兰“燃料补贴”公布!
新西兰总理Christopher Luxon和新西兰财政部长Nicola Willis官宣:自4月7日起,约14.3万个“有子女的、至少有一人在职的”家庭将通过提高“在职税收抵免”,每周额外获得50纽币!

新西兰总理Christopher Luxon和新西兰财政部长Nicola Willis
同时,约1.4万个新增家庭也将被纳入补助范围,并按递减比例领取该补贴。
此次上调为临时措施,将持续一年,或直至91号汽油价格连续四周低于每升3纽币为止。

新西兰总理Christopher Luxon在昨日媒体发布会上
Willis表示,随着中东冲突推高油价、加重家庭生活成本压力,新西兰政府正迅速推出额外支持措施,帮助中低收入在职家庭。
与此同时,昨日,新西兰政府还宣布将允许符合澳大利亚标准的燃料进口至新西兰市场。
同时,新西兰总理Christopher Luxon表示,NZ政府“从未提出、讨论或考虑”协助重新开放霍尔木兹海峡的方案。

新西兰总理Christopher Luxon和新西兰财政部长Nicola Willis
哪些人有资格
获得在职税收抵免?
据悉,在职税收抵免(In-Work Tax Credit,IWTC)是新西兰发放给有受抚养子女的家庭的一项补助,前提是至少有一名家长处于有偿就业状态,且双方均未领取Work and Income的主要福利。
领取者可以是领取工资或薪水的雇员,也可以是自雇人士。
目前,新西兰税务局向约14.3万个家庭发放该补助。当前补助标准为每周97.50纽币,可按周、双周或年度一次性发放。此外,拥有四个及以上子女的家庭,每多一个孩子每周可额外获得15纽币。

IWTC主要面向中低收入家庭。在2025/26税务年度中,领取该补助的家庭年收入上限大致为:
一个孩子家庭:约8.9万纽币
两个孩子家庭:约11.2万纽币
三个孩子家庭:约13.5万纽币
家庭收入指父母双方收入总和(如为双亲家庭),包括全职或兼职收入。

图片由AI生成
“每周多拿50纽币!”
有家庭一周能拿147.5纽币!
今日,NZ政府宣布将临时把IWTC的基础金额每周提高50纽币,使其达到每周147.50纽币,以帮助应对油价上涨带来的生活成本压力。
该上调将从2026年4月1日起实施,持续一年,或直到91号汽油价格连续四周低于每升3纽币(两者中以先发生的情况为准)。

这一措施旨在重点支持选择有限的在职家庭,同时避免大规模、无差别的支出,因为后者成本高且可能推高通胀。
新西兰政府表示,通过IWTC发放补助能够精准帮助承压的在职家庭,同时确保措施快速、高效且符合财政审慎原则。
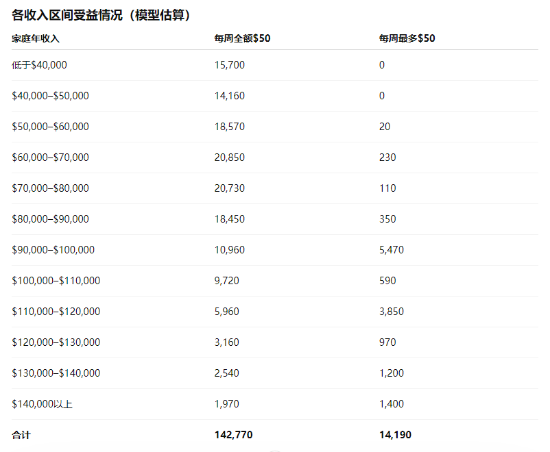
新西兰税务局估计,约14.3万个家庭将获得每周50纽币的全额补助。此外约1.4万个家庭将因收入门槛提高而新纳入范围,但由于补助随收入递减,这些家庭每周获得金额将低于50纽币。

举例说明——一个年收入10万纽币的家庭,可能包括:
单亲家庭,年收入10万纽币
一方收入10万纽币,另一方无收入
一方收入7万纽币,另一方兼职收入3万纽币
“一次性花费约3.73亿纽币!”
NZ财长称帮助“被挤压的中间群体”!
新西兰财长Nicola Willis表示:“这一临时性上调将为承受显著生活成本压力的在职家庭提供支持,同时不会加剧通胀或进一步推高NZ政府债务。”
“该政策精准针对‘被挤压的中间群体’——那些努力工作、不符合主要福利资格、但收入有限、仍需抚养子女的家庭。我们清楚,这些家庭将特别受到全球油价冲击的影响,因此我们为他们提供及时的缓解措施。”
“新西兰政府将迅速推进相关调整。明天,我们将向新西兰国会提交一份税收法案修正文件,以便这些变更能够从4月1日起生效。”
“多数符合条件的家庭无需采取任何行动,补助将直接打入其银行账户。按周发放的家庭将从4月7日起收到款项,按两周发放的家庭则从4月14日起开始领取。”

Nicola Willis
Willis表示,新西兰政府清楚,几乎所有新西兰企业和家庭都在承受全球冲击带来的价格压力,但同时也认识到,大规模、无差别的政府支出可能适得其反,进一步推高通胀和债务。
“我们正在做出审慎选择,以保护新西兰的经济未来。”
她指出,若应对不当,可能带来长期且痛苦的后果。“我们在新冠疫情之后已经见过这种情况——过度支出导致债务翻倍,通胀飙升,房贷利率大幅上涨,而新西兰人至今仍在承受这些影响。”
“因此,我们专注于提供临时、及时且有针对性的支持,优先帮助最需要的在职人群,同时继续谨慎管理公共财政。”

Beehive示意图
该政策预计若执行满一年,将一次性花费约3.73亿纽币;若提前结束,成本将更低。由于该措施为限时政策,未来年度不会产生持续性支出。相关支出将计入政府2026年财算案的运营额度中,已纳入NZ财政部的财政预测。
“以这种方式提供资金支持,不会增加政府债务或通胀压力,符合政府在实现收支平衡、降低债务水平方面的财政战略。”
“我们无法控制全球石油市场或国际冲突。”她说,“但我们可以通过负责任且精准的方式,缓解那些难以避免油价上涨影响的、在职家庭所承受的压力。”

NZ总理与新加坡总理通电话
“将在今年5月访问!”
昨晚(3月23日),Luxon与新加坡总理黄循财进行了通话。
Luxon表示,“我们正全力确保在中东冲突背景下,新西兰的燃料供应需求能够得到满足。当前局势已对供应造成干扰,并推高了加油站的油价。”
“鉴于新西兰约三分之一的燃料在新加坡炼制,今晚能与新加坡总理黄循财通话十分重要。双方一致认为,应确保包括燃料在内的关键物资在两国之间持续顺畅流通。”

Luxon与与新加坡总理黄循财通话。
“我将在今年5月访问新加坡,届时双方将签署《关键物资贸易协议》(Agreement on Trade in Essential Supplies)。该协议将有助于保障燃料、食品及其他商品的供应链稳定运行。”
“在我们已建立的良好合作基础上,双方还探讨了在应对当前供应链挑战过程中,两国政府未来可以进一步开展的合作方向。”
新西兰央行行长发声:
“在中期内仍可能面临更高的通胀!”
今早,新西兰央行行长Anna Breman表示,NZ央行“不太可能因为油价上涨推高通胀而直接上调官方现金利率(OCR)”。
不过,她也指出,由中东冲突引发的高油价,可能最终促使企业提高价格、员工要求加薪,即使经济增长依然疲弱。在这种情况下,新西兰“在中期内仍可能面临更高的通胀”。

新西兰央行行长Anna Breman
鉴于央行的目标是在“中期内”将年通胀率维持在1%至3%之间,一旦通胀出现“固化”(embedded),货币政策委员会可能会比原先更早上调OCR。
她还表示,未来几个月,新西兰央行委员会将重点关注油价上涨带来的“第二轮影响”,以判断通胀压力的演变趋势。
对于下一次定于4月8日进行的OCR评估,Breman表示不愿提前作出判断,而是希望阐述央行的整体思路。“我们的目标是前瞻性的,这意味着我们在制定货币政策时,关注的是通胀的中期前景。”
不过在Breman发表讲话前,NZ市场预计4月8日加息的概率为20%,而到7月加息的概率为100%。本地经济学家对此并不十分担忧,认为通胀短期内不会促使央行如此快加息,尤其是在经济仍处于复苏阶段、仍有较多闲置产能的情况下。
美总统特朗普提出
对伊朗实行“联合领导”!
美国总统唐纳德特朗普表示,在与伊朗政权领导人进行旨在结束战争的谈判后,提出由美国与伊朗“共同领导”该国的设想。
特朗普在周一(当地时间)表示,美国将“共同控制”霍尔木兹海峡,并扶持一位身份未公开但“备受尊敬”的人领导伊朗,使其更倾向于美国利益。
在撤回此前威胁摧毁伊朗能源设施的最后通牒后,特朗普表示和平协议“很有可能达成”,但如果谈判破裂,美国将“继续猛烈轰炸”。
当被记者问及如何治理伊朗时,特朗普表示:“也许可以实行联合领导。看看委内瑞拉,效果就很好。”
“我们在委内瑞拉的石油合作以及与当选总统的关系都非常顺利,也许我们可以在伊朗找到类似的人选。”
本文为转载发布,仅代表原作者或原平台态度,不代表我方观点。澳洲印象仅提供信息发布平台,文章或有适当删改。对转载有异议和删稿要求的原著方,可联络 [email protected]




















你需要登录后才能评论 登录