收藏债务暴击!澳洲税局,宣布严查!
前言
国际货币基金组织年度会议于周一10月21日在日内瓦开幕,会议已明确了其希望在未来几天通过一系列有关全球经济的预测和研究来强调的一些主题。
国际货币基金组织上周三10月16日发布的《财政监测报告》将警告称,受中国和美国推动,今年公共债务水平将达到 100 万亿美元。
国际货币基金组织总裁克里斯塔利娜·格奥尔基耶娃在周四的讲话中强调,巨额债务给世界带来了多大压力。
并表示根据预测表明,低增长和高债务将不可避免地结合在一起,这是一个艰难的未来。
政府必须努力减少债务,为下一次冲击重建缓冲,下一次冲击肯定会到来,而且可能比我们预期的要早。
IMF表示:“中国和美国等系统重要性国家的债务水平上升和财政政策的不确定性,可能产生重大溢出效应,导致其他经济体的借贷成本上升和债务相关风险上升。”
澳大利亚债务高企
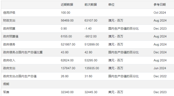
不仅仅是中国与美国,澳洲亦面临着同样的问题。截至2024年8月,澳大利亚政府债务已经来到了5218.67亿澳币。全球三大评估机构之一的标普已经发出警告,预测澳洲全国净债务将在2028年逼近9,000亿澳元。
预计维多利亚州的债务增长将尤为显著,尽管其经济规模不及新南威尔士州,但其债务水平预计将迅速攀升,最终超越新南威尔士州,成为澳大利亚负债最高的州。
标准普尔预测,到2028年维州非金融公共部门债务将达到2600亿澳元,比疫情前增长372%。新州的债务预计将比疫情前的2500亿澳元高出295%,南澳州的债务预计也将增长259%,达到590亿澳元。
债务其实并不可怕,重要的是其在全国GDP中的占比。
澳大利亚政府债务比其国内生产总值比重仅为43.8%,这个数字相较于其他许多国家来说,都可以算的上是一个相对较低的数字了。
从上图可以,自2008年金融危机政府去杠杆以来,澳洲债务占比已经从最低的9.7%一路增长至目前的43.8%。
但是如果将整个周期拉长来看,其实与历史相比,澳洲的债务水平,其实仍在一个相对较低的位置。
只是在2019年至2022年期间,根据国际货币基金组织(IMF)的数据,澳洲公共债务从2019到2022年三年内的增长速度前所未有,债务占GDP的增幅达到了29.5%,超过了IMF研究的35个主要发达国家中的任何一个,但其实还是因为澳洲本身的基数较低的原因。
解决债务?
那么如何解决澳洲高企的债务增速呢?
收入与支出,要么增加收入,要么缩减支出。
其实澳洲与美国一样,澳洲政府在国防、医疗、社会保险、利息支出方面的债务不断增加,但是却又无法缩减(这是一张张的选票)。
既然支出缩减不了,那么就想办法增加收入。
可是我们看到在税务方面,澳洲已经是发达经济体中税率最高的国家之一,且对居民的可支配收入造成了显著负担。
政府为了不影响经济发展(选票),已经对个人所得税进行了一部分的降低。也就是说在税收方面的收入反而也在降低。
所以在近期财政部长查莫斯建议,希望收回将使预算每年损失530亿澳元的税收优惠,而且要阻止民众提前支取养老金。
所以澳洲的税务局正在追查过去的一部分有望可以追缴的税金。
比如说笔者的一位朋友,就因为在办理移民时正好赶上了新冠,被困在了国内,并且在澳洲已经购置了物业。
目前税务局正在以物业空置为由在追缴其空置税。
并且因为当时其永居签证还未下批,所以税务局更是要以海外人士的税率来进行追缴。
实际上,存在另一种方法亦可应对国家债务问题,即通过适度提高通胀率来实现债务的化解。
以阿根廷为例,一个眼看随时都可能破产的国家,却从来都没有债务的问题。因为在其高达年化100%的通胀下,债务就被轻松的化解了。
正如笔者在2023年8月所说,全球央行所期望的稳定在2%左右的通胀水平已经回不去了,未来的通胀水平将上升一个台阶,或将维持稳定在3%左右。
购买力储存
在全球的债务不断飙升,面对中国两国的货币超发滥发,且通胀仍维持高位的情况下,美国银行分析师在周三的一份报告中提出了这个问题,并解释说美国债务的前景对贵金属有利。
由于未来几年债务占 GDP 的比例将创下历史新高,财政部必须向投资者出售越来越多的债券,而投资者可能要求更高的收益率。
当收益率上升时,二级市场的债券价格就会下跌。
尽管较低的利率仍对不支付利息或股息的黄金有利,但更高的利率不一定再给黄金带来压力,并维持金价目标价为每盎司 3,000 美元。
从上图可见,黄金经CPI调整后的实际购买力已经来到了1980年大通胀时的顶峰。
但是如果进行周期研究进行叠加后,黄金的涨幅或许只是来到第二轮涨幅的起点而已。
正如过去的文章笔者所提到,笔者认为,如果一旦黄金未来的某个时刻出现轧空(1实物黄金身上背负着100倍的黄金衍生品交易),黄金或有望来到8000美元/盎司(未来3-5年)。
结语
从长远的视角审视,房地产亦是一种具有购买力储存功能的资产。
然而,若从资产流动性及避险属性的角度进行考量,房地产相较于黄金则显得逊色。
在风险事件发生时,黄金与房地产的价值表现可能会短期的分道扬镳,但长期来看,两者的发展趋势终将殊途同归。
本文为转载发布,仅代表原作者或原平台态度,不代表我方观点。澳洲印象仅提供信息发布平台,文章或有适当删改。对转载有异议和删稿要求的原著方,可联络 [email protected]




















你需要登录后才能评论 登录